Задачи ЕГЭ профиль
- 1. Планиметрия
- 2. Векторы
- 3. Стереометрия
- 4. Классическое определение вероятности
- 5. Теория вероятностей
- 6. Уравнения
- 7. Нахождение значений выражений
- 8. Производная
- 9. Задачи прикладного содержания
- 10. Текстовые задачи
- 11. Графики функций
- 12. Исследование функций
- 13. Сложные уравнения
- 14. Стереометрия
- 15. Неравенства
- 16. Экономические задачи
- 17. Планиметрия
- 18. Параметры
- 19. Теория чисел
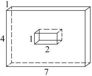
Задача №5999
Найдите площадь поверхности многогранника, изображенного на рисунке. Все двугранные углы прямые.
