Задачи ЕГЭ профиль
- 1. Планиметрия
- 2. Векторы
- 3. Стереометрия
- 4. Классическое определение вероятности
- 5. Теория вероятностей
- 6. Уравнения
- 7. Нахождение значений выражений
- 8. Производная
- 9. Задачи прикладного содержания
- 10. Текстовые задачи
- 11. Графики функций
- 12. Исследование функций
- 13. Сложные уравнения
- 14. Стереометрия
- 15. Неравенства
- 16. Экономические задачи
- 17. Планиметрия
- 18. Параметры
- 19. Теория чисел
3.3. Составные тела (Задачи ЕГЭ профиль)
Найдите площадь поверхности пространственного креста, изображенного на рисунке и составленного из единичных кубов.

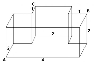
Найдите отношение квадратов длин отрезков AC и CB. Все двугранные углы многогранника прямые.

Найдите объём многогранника, изображённого на рисунке (все двугранные углы прямые).
Деталь имеет форму изображённого на рисунке многогранника (все двугранные углы прямые). Числа на рисунке обозначают длины рёбер в сантиметрах. Найдите объём этой детали. Ответ дайте в кубических сантиметрах.
Найдите площадь поверхности многогранника, изображенного на рисунке. Все двугранные углы прямые.

На рисунке изображён многогранник, все двугранные углы многогранника прямые. Найдите тангенс угла B₂A₂C₂.

Найдите площадь поверхности многогранника, изображенного на рисунке (все двугранные углы прямые).

Найдите площадь поверхности многогранника, изображенного на рисунке. Все двугранные углы многогранника прямые.

Деталь имеет форму изображённого на рисунке многогранника (все двугранные углы прямые). Числа на рисунке обозначают длины рёбер в сантиметрах. Найдите площадь поверхности этой детали. Ответ дайте в квадратных сантиметрах.
